深圳抖音視頻推廣是一種充滿活力和創意的營銷方式,它不僅能向更多人展示你的產品或服務,更能創造出具有品牌形象的獨特內容。通過抖音視頻推廣,你可以尋找到適合的受眾群體,并展示出你所提供的優質內容和創新思路,為你的品牌帶來更多的曝光量和影響力。
由于深圳抖音視頻推廣的短小精悍,視頻的傳播速度也很快。通過抖音平臺,你可以將你的視頻內容快速地傳達給更多有興趣的用戶,并讓他們更深入了解你的品牌或產品。
總之,深圳抖音視頻推廣是一種富有創意和活力的營銷方式,能夠快速地向更多目標用戶展示品牌形象和特色內容。如果你在尋找一種積極、向上的市場推廣方式,深圳抖音視頻推廣是值得你嘗試的有力選項。
億視推是一站式短視頻營銷系統,可以把客戶公司抖音號的短視頻推廣到抖音前幾名,當用戶搜索關鍵字查找供應商的時候可以第一時間看到客戶的短視頻;同時我們公司還提供抖音號認證、抖音商家頁面裝修、視頻拍攝及剪輯、關鍵字策劃、文案策劃、視頻推廣、效果監控等一站式服務。
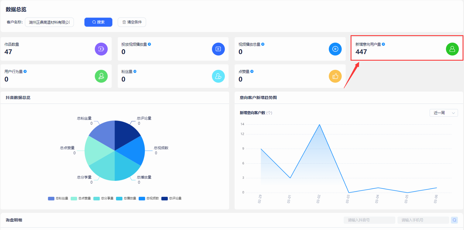
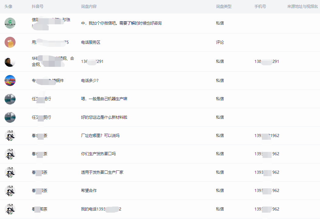
那么億視推有效果嗎?以下是我們幫客戶做抖音短視頻推廣效果反饋,您可以了解一下。



